یو پی اس ها (Uninterruptible Power Supply) دستگاه هایی حیاتی برای محافظت از تجهیزات الکترونیکی در برابر قطعی برق، افت ولتاژ و نوسانات برق هستند. در بسیاری از موارد، به خصوص برای کسب و کارها و سازمان هایی که به طور مداوم به برق قابل اعتماد نیاز دارند، استفاده از یک یو پی اس کافی نیست. در اینجاست که سری و موازی کردن یو پی اس ها به میان می آید.
برای اطلاع از قیمت یو پی اس میتوانید با کارشناسان ما در ارتباط باشید با شماره تماس زیر:
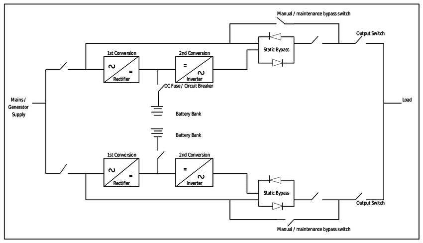
با اتصال دو یا چند یو پی اس به صورت سری یا موازی می توانید قدرت، ظرفیت و قابلیت اطمینان سیستم برق خود را به طور قابل توجهی افزایش دهید. این امر به ویژه برای تجهیزاتی که به توان بالا یا زمان پشتیبان طولانی نیاز دارند، مانند سرورها، مراکز داده و تجهیزات پزشکی، مفید است.
در این مقاله، به نحوه گام به گام سری و موازی کردن یو پی اس ها می پردازیم.
الزامات قبل از شروع:
- مطالعه دفترچه راهنما: قبل از هر اقدامی، دفترچه راهنمای هر یو پی اس را به دقت مطالعه کنید. این امر برای آشنایی با الزامات و دستورالعمل های خاص هر مدل ضروری است.
- سازگاری: اطمینان حاصل کنید که یو پی اس هایی که قصد دارید به صورت سری یا موازی متصل کنید، از نظر ولتاژ خروجی، فرکانس و نوع باتری (سیلید اسید، ژل و غیره) یکسان باشند. عدم تطابق این موارد می تواند منجر به آسیب به یو پی اس ها یا عملکرد نادرست آنها شود.
- تجهیزات: برای انجام این فرآیند به کابل های یو پی اس مناسب، ترمینال های اتصال و در صورت نیاز، سوئیچ های BYPASS نیاز خواهید داشت.
مراحل سری کردن یو پی اس ها:
- خاموش کردن و جدا کردن: تمام یو پی اس ها را از برق و بار جدا کنید.
- اتصال خروجی به ورودی: ترمینال خروجی یو پی اس اول را به ترمینال ورودی یو پی اس دوم وصل کنید.
- اتصال بار: ترمینال خروجی یو پی اس دوم را به بار خود وصل کنید.
- روشن کردن: یو پی اس ها را به ترتیب، از یو پی اس اول شروع کنید، روشن کنید.
نکات مهم:
- در صورت استفاده از یو پی اس هایی با ظرفیت های مختلف، یو پی اس با ظرفیت بالاتر را در انتهای زنجیره قرار دهید.
- از کابل های با طول و ضخامت مناسب برای اتصال یو پی اس ها استفاده کنید.
- در صورت مشاهده هرگونه مشکل یا ناهنجاری، فوراً یو پی اس ها را خاموش کرده و با یک متخصص برق مشورت کنید.

مراحل موازی کردن یو پی اس ها:
- خاموش کردن و جدا کردن: تمام یو پی اس ها را از برق و بار جدا کنید.
- اتصال ترمینال های مثبت: ترمینال های مثبت تمام یو پی اس ها را با استفاده از کابل های مناسب به یکدیگر وصل کنید.
- اتصال ترمینال های منفی: ترمینال های منفی تمام یو پی اس ها را با استفاده از کابل های مناسب به یکدیگر وصل کنید.
- اتصال بار: ترمینال های خروجی هر یو پی اس را به بار خود وصل کنید.
- روشن کردن: یو پی اس ها را به ترتیب، از یو پی اس اول شروع کنید، روشن کنید.
نکات مهم:
- از کابل های با طول و ضخامت مناسب برای اتصال یو پی اس ها به یکدیگر استفاده کنید.
- در صورت استفاده از یو پی اس هایی با ظرفیت های مختلف، مطمئن شوید که تنظیمات ولتاژ و فرکانس آنها یکسان است.
- در صورت اضافه کردن یو پی اس جدید به سیستم موازی، مراحل 1 تا 5 را برای یو پی اس جدید تکرار کنید.
مزایای سری و موازی کردن یو پی اس ها:
- افزایش قدرت: با اتصال یو پی اس ها به صورت سری یا موازی می توانید توان خروجی سیستم را به طور قابل توجهی افزایش دهید. این امر برای تجهیزاتی که به توان بالا نیاز دارند، مانند سرورها و تجهیزات صنعتی، مفید است.
- افزایش ظرفیت: با موازی کردن یو پی اس ها می توانید ظرفیت ذخیره سازی باتری را افزایش دهید و زمان پشتیبان را برای تجهیزات خود طولانی تر کنید.
- افزایش قابلیت اطمینان: در صورت خرابی یک یو پی اس در سیستم موازی، یو پی اس های دیگر می توانند بار را به طور یکنواخت
موارد استفاده از یو پی اس های سری و موازی:
- مراکز داده: مراکز داده به طور مداوم به برق قابل اعتماد نیاز دارند و سری و موازی کردن یو پی اس ها می تواند راه حلی ایده آل برای افزایش قدرت، ظرفیت و قابلیت اطمینان سیستم برق آنها باشد.
- تجهیزات پزشکی: تجهیزات پزشکی حساس هستند و به برق بدون نوسان نیاز دارند. سری و موازی کردن یو پی اس ها می تواند ثبات ولتاژ و فرکانس مورد نیاز برای این تجهیزات را فراهم کند.
- صنایع: در بسیاری از فرآیندهای صنعتی، قطعی برق می تواند خسارات مالی قابل توجهی به بار آورد. سری و موازی کردن یو پی اس ها می تواند از این امر جلوگیری کند.
- محیط های اداری: در محیط های اداری، قطعی برق می تواند منجر به از دست رفتن اطلاعات و اختلال در فعالیت های روزمره شود. سری و موازی کردن یو پی اس ها می تواند از این امر جلوگیری کند.
نکات ایمنی:
- قبل از هرگونه کار با یو پی اس ها، دستورالعمل های ایمنی سازنده را به دقت مطالعه کنید.
- هنگام کار با یو پی اس ها، از عینک و دستکش ایمنی استفاده کنید.
- از اتصال یو پی اس ها به پریزهای برق که توسط سایر تجهیزات الکتریکی سنگین استفاده می شوند خودداری کنید.
- به طور مرتب یو پی اس ها را تست و نگهداری کنید تا از عملکرد صحیح آنها اطمینان حاصل کنید.
نتیجه گیری:
سری و موازی کردن یو پی اس ها می تواند راه حلی عالی برای افزایش قدرت، ظرفیت و قابلیت اطمینان سیستم برق شما باشد. با انتخاب روش مناسب برای نیازهای خود، می توانید از تجهیزات الکترونیکی خود در برابر قطعی برق، افت ولتاژ و نوسانات برق محافظت کنید.
 
								
 
								
 
								
 
								 
								 
								 
								 
								 
								 
								 
								